Наш ассоциированный член www.Bikinika.com.ua

Amazon запатентувала браслети для контролю за співробітниками

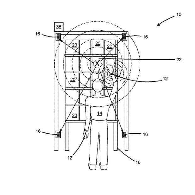
Компанія Amazon запатентувала наручний браслет, який буде відслідковувати стан рук працівників складу і контролювати їх дії. Якщо співробітник почне класти товар в неправильний контейнер, тактильний зворотний зв'язок вкаже йому на помилку. Передбачається, що такий підхід дозволить підвищити ефективність роботи співробітників. Про це пише The Guardian.

Справа в тому, що швидкість пошуку - один з ключових моментів роботи Amazon. Коли покупець робить замовлення, всі деталі відразу ж відправляються на планшети співробітників складу. Тоді їм потрібно якомога швидше знайти товар серед незліченних полиць і відсіків, запакувати і чекати наступного замовлення. Передбачається, що браслет заощадить співробітникам багато часу і сил. Не потрібно буде сканувати штрих-коди, прив'язані до конкретного відсіку або зайвий раз натискати кнопки на відповідному складському обладнанні.

Крім того, ультразвуковий браслет буде періодично відправляти імпульси в спеціальний приймач сигналів, за допомогою якого можна відстежити, в якому з складських приміщень знаходиться співробітник, де конкретно він шукає товар і наскільки ефективно виконує замовлення. По суті, працівників таким чином повністю позбавлять приватності: при бажанні начальство знатиме, скільки разів за день вони почухали ніс.
Amazon славиться низькими зарплатами для персоналу і невгамовним прагненням перетворити їх в "живих роботів", які за таймером виконують монотонні завдання на складі. Тому ідея тотального стеження навряд чи сподобаються співробітникам, які і без того вже влаштовували страйки, наприклад, минулої "чорну п'ятницю".

Нагадаємо, Amazon вперше став найдорожчим брендом у світі. Про це свідчать дані рейтингу 500 найдорожчих брендів , Складеного консалтинговою компанією Brand Finance. За рік бренд Amazon подорожчав на 42% і перемістився з третього на перше місце в списку. Його вартість оцінюється в $ 150,8 млрд.

Новости